Содержание
- 1 Рейтинг лучших зарядных устройств для автомобильных аккумуляторов 2017
- 2 6 лучших зарядных устройств для автомобильных аккумуляторов
- 3 Выбираем лучшее зарядное устройство для автоаккумулятора
- 4 Лучшие зарядные устройства для автомобильных аккумуляторов в 2018 году
- 4.1 Как правильно выбрать зарядное устройство для автомобильного аккумулятора?
- 4.2 Основные закономерности подбора зарядного устройства в зависимости от аккумулятора
- 4.3 Виды зарядных устройств для зарядки аккумуляторов
- 4.4 Что нужно знать при покупке зарядного устройства?
- 4.5 Важность технических параметров при выборе зарядного устройства
- 4.6 Какие производители зарядных устройств для автомобильных аккумуляторов отлично зарекомендовали себя на рынке?
- 4.7 Как сделать зарядной устройство для автомобильного аккумулятора своими руками?
- 4.8 Пятёрка лучших моделей зарядных устройств для аккумулятора автомобиля
- 4.9
- 4.10
- 4.11
- 4.12
- 4.13
- 4.14 Что же всё-таки выбрать?
- 5 Лучшие зарядные устройства для автомобильных аккумуляторов 2018 года
Рейтинг лучших зарядных устройств для автомобильных аккумуляторов 2017
Разряд автомобильного аккумулятора может настигнуть в самый неподходящий момент. Особенно часто эта проблема возникает, когда АКБ проработал достаточно долгое время и его износ приводит к частому разряду. Еще одна причина – низкие температуры. Наверняка, многие из вас пытались заводить автомобиль в сильные морозы, но безуспешно – аккумулятор не выдерживал нагрузки и садился.
Именно для таких случаев и предназначены зарядные устройства для автомобильных аккумуляторов. Прибор довольно полезный и никогда не будет лишним иметь его в гараже или дома.
Ассортимент устройств сейчас очень большой, встречаются как качественные, так и недолговечные модели, несоответствующие заявленным характеристикам. Чтобы вы могли сделать правильный выбор, мы составили ТОП зарядных устройств для автомобильных аккумуляторов.
Лучшие зарядные устройства для аккумуляторов автомобилей
Данный рейтинг составлен исходя из характеристик и качества зарядных устройств различных производителей, а также отзывов пользователей.
1. Орион Вымпел-37
Орион Вымпел-37 – это универсальное предпусковое зарядное устройство, которым можно заряжать автомобильные, мотоциклетные или лодочные аккумуляторы.
На панели управления прибора имеется переключатель для автоматической зарядки аккумуляторов трех типов:
Также на лицевой части размещен цифровой дисплей, на котором высвечиваются все текущие показания (ток, напряжение, уровень заряда) и регулятор установки тока заряда. Универсальность устройства заключается еще и в том, что его можно использоваться как блок питания, а также в качестве вольтметра.
Благодаря переключателю режимов необходимость пользоваться ручной регулировкой отпадает – нужно просто подключить аккумулятор и установить автоматический режим.
Еще этот аппарат имеет защиту от перегрева и неправильной полярности. Им можно заряжать полностью севшие батареи. Устройство подходит для использования в качестве предпускового.
Основные характеристики:
Тип
Зарядно-предпусковое
Напряжение питания
180-240 В
Максимальный ток заряда
20 А
Минимальный ток заряда
0,8 А
Для тех, кто хочет купить хорошее зарядное устройство для автомобильного аккумулятора Орион Вымпел-37 – оптимальный вариант и занимает заслуженное первое место в рейтинге.
Кстати, если вы ищите для своего авто хорошую магнитолу, то рейтинг лучших можете найти здесь. Еще рекомендуем установить в автомобиль антирадар, а также видеорегистратор.
2. Quattro Elementi BC12M
Простая и в то же время надежная «зарядка» для автомобильного аккумулятора.
Имеет встроенный амперметр для контроля за током, продуманную систему защиты от коротких замыканий, неправильной полярности и перегрузок.
Устройство удобно в хранении и перевозке, имеет удобную эргономичную ручку. Металлический корпус надежно защищает от механических повреждений и обеспечивает хороший отвод тепла.
Основные характеристики:
Для аккумуляторов напряжением
12 В
Вес
3,7 кг
Зарядка
Традиционная
Потребляемая мощность зарядки (max)
160 Вт
Емкость аккумулятора (min)
80 А/ч
Емкость аккумулятора (max)
121 А/ч
3. Орион Вымпел-32
Орион Вымпел-32 – предпусковое зарядное устройство от российского производителя представляет собой компактный аппарат, который может работать как от сети 220 В, так и от напряжения 12 В. Значение тока заряда регулируется ручным управлениям в пределах от 0.8 до 20 А.
Устройство само отключится, после того как зарядит аккумулятор. Имеет встроенную защиту от перегрева, коротких замыканий, неправильной полярности. Диапазон температур, в котором может работать довольно широк – от –10 °C до +40 °C.
При высоких температурах устройство начинает охлаждаться встроенным вентилятором.
Еще одна интересная особенность данного устройства – возможность подключения электроинструментов.Полезный совет! С помощью Орион Вымпел-32 можно «оживить» севшую батарею для пуска двигателя.
Для этого устройство нужно подключить к аккумулятору и выставить регулятор на максимальное значение тока. Подождать примерно 10-15 минут и попробовать запустить мотор.
Основные характеристики:
Тип
Предпусковое зарядное устройство
Напряжение питания
220 В
Максимальный ток заряда
20 А
Минимальный ток заряда
0,8 А
Вес
0,93 кг
Режим Boost
Есть
4. Patriot BCI-10M
Импульсное зарядное устройство оснащено интуитивно понятной передней панелью, на которой размещены амперметр для визуального контроля за током, рукоятка регулировки тока заряда, светодиодные индикаторы сетевого напряжения, уровня заряда батареи, а также появления ошибок в работе. В верхней части имеется эргономичная ручка, которая делает перенос аппарата более удобным.
Разъёмы следует подключать к клеммам аккумулятора перед включением устройства в сеть. После соединения, подключите аппарат к сети 220 Вольт.
Основные характеристики:
Тип
Импульсное зарядное устройство
Выходное напряжение
6/12 В
Потребляемая мощность
300 Вт
Минимальная емкость аккумулятора
10 А/ч
Максимальный ток зарядки
10 А
Вес
1,3 кг
5. Fubag Micro 160/12
Одно из самых простых и компактных зарядных устройств. Заряжает аккумуляторы емкостью до 160 Ач, например, от тракторной техники или грузовика.
Программа зарядки имеет 9 ступеней, «умеет» тестировать состояние батареи и на основе полученных данных выбирать режим. Устройство оснащено светодиодными информационными индикаторами и системой защиты от перезарядки.
Имеет также штекер подключения в гнездо прикуривателя и разъем для такого же штекера.
Основные характеристики:
Тип
Зарядное
Напряжение питания
220 В
Максимальный ток заряда
8 А
Минимальный ток заряда
2 А
Мощность
160 Вт
Вес
0,8 кг
Максимальная емкость аккумулятора
160 Ач
6. WESTER CH15
Данное зарядное устройство подходит для зарядки аккумуляторов емкостью от 25 до 105 Ач. Это могут быть батареи от легковых автомобилей, мотоциклов, садовой техники.
Заряд может осуществляться в полном или ускоренном режиме. На панели управления расположены элементы управления режимами и силой тока заряда, а также гнездо с предохранителем, переключатель между напряжением (12 и 24 В). Аппарат имеет встроенную защиту от переполюсовки и перегрева. Встроенный амперметр позволяет контролировать рабочий процесс.
Основные характеристики:
Минимальный ток заряда
7 А
Максимальный ток заряда
11 А
Напряжение аккумулятор
12/24 В
Максимальная емкость аккумулятора
105 Ач
Мощность
150 Вт
7. Зарядное устройство ЗУ 90
Простая и недорогая зарядка от российского производителя. Используется для заряда автомобильных аккумуляторов напряжением 12 В. Снабжена всеми необходимыми функциями: защитой от коротких замыканий и неправильного подключения полюсов, регулятором тока заряда, отключением устройства после окончания зарядки.
Основные характеристики:
Тип
Зарядное
Питающее напряжение
220 В
Напряжение на выходе
12 В
Емкость заряжаемых аккумуляторов
от 50 Ач до 90 Ач
Вес
1,53
Надеемся, что этот рейтинг поможет вам определиться, какое зарядное устройство лучше и какую модель выбрать. Поставьте свою оценку в рейтинге ниже или оставьте отзывы, если вы уже использовали какое-либо устройство.
Загрузка …
6 лучших зарядных устройств для автомобильных аккумуляторов

Место
Наименование
Характеристика в рейтинге
Лучшие автоматические зарядные устройства
Лучшие зарядные устройства ручного типа управления
Читайте также:
- 10 лучших фирм аккумуляторов для автомобиля
Проблема современного мира в нехватке времени и повсеместной суете нашла своё правомерное отражение и в такой отдалённой теме, как обеспечение стабильной подзарядки аккумуляторов.
Представьте, что, проснувшись рано утром, чтобы вовремя успеть на важное совещание, Вы обнаруживаете неприятнейшую ситуацию – буквально за ночь аккумулятор авто успел разрядиться в ноль.
Именно в таких ситуациях проявляется острая необходимость иметь портативное зарядное устройство, которое способно реанимировать даже безнадёжно севшую батарею.
На тернистом пути выбора потенциальному покупателю приходится столкнуться со множеством насущных проблем, главная из которых – обилие конкурирующих образцов и компаний, их выпускающих.
Дабы максимально облегчить выбор, но оставить право принимать решение, мы создали для Вас рейтинг шести самых лучших автоматических и ручных зарядных устройств для автомобильного аккумулятора.
Критерием выбора и формирования итогового списка товаров стали следующие пункты:
- мнение авторитетных источников, профессионалов и экспертов;
- отзывы покупателей об опыте использования того или иного устройства;
- технические характеристики, параметры работоспособности и наличие эксплуатационных «фишек»;
- правомерность соотношения стоимости и номинального качества.
Автоматические зарядные устройства представляют собой «интеллектуальную» систему подачи тока. При отсутствии какой-либо нагрузки на клеммах процесс зарядки не протекает, однако при честном подключении аккумуляторной батареи длительный процесс превращается в распределённый цикл проведения тока.
По мере насыщения аккумулятора зарядный ток снижается, тем самым не вызывая закипания электролита, что в случае с ручной зарядкой может привести к взрыву. Как только процесс заканчивается, происходит автоматическое выравнивание напряжения до уровня поддержки заряда.
3 ОРИОН PW150
Наиболее простой и в то же время практичный зарядный блок, работающий в автоматическом режиме со свинцово-кислотными аккумуляторами.
Это модель, которая разительно отличается от конкурентов по рейтингу: аскетичный вид передней панели содержит в себе только два индикатора – никаких переключателей, никаких ручек регулятора и дисплея, оповещающего о величине зарядного тока.
Здесь есть лампочка контроля заряда аккумулятора и, по своей сути, диод активности протекающего процесса.
Что же до зарядки, то ОРИОН PW150 не способен вытянуть на себе разряжённый в ноль аккумулятор, а может лишь помочь выжить тому, кто находится при фактической «смерти». На этом его таланты исчерпываются, однако простота всё-таки завоёвывает толику популярности среди пользователей.
Достоинства:
- простота в использовании;
- низкая цена;
- неплохой рабочий ресурс.
Недостатки:
- до безобразия упрощённый режим функционирования.
Один из представителей немногочисленной когорты зарядных устройств, работающих не только с 12-вольтовыми, но и с 24-вольтовыми аккумуляторами. Несмотря на свои неказистые габариты, это довольно мощное устройство, способное заряжать электролитные батареи в реалиях промышленного масштаба.
Если проследить тенденцию покупок, то становится ясно, что для личного пользования прибор покупают примерно 20% потребителей, в то время как остальные – это представители сервисных центров, станций ремонта и технического обслуживания автомобилей.
Однако, высокое качество сборки и охватываемый рабочий диапазон значительно добавляют SMART-POWER SP-25N Professional в цене, за счёт чего бюджетные пользователи отсеиваются уже на стадии беглого выбора.
Достоинства:
- компактный и производительный;
- элементарное, интуитивно понятное управление;
- наличие влагостойкого корпуса, индикатора зарядки и цифрового дисплея.
Недостатки:
Не слишком компактное дорогое устройство для автоматической подзарядки автомобильных аккумуляторов высокого класса. Без труда справляется с постепенной «заправкой» батарей ёмкостью 100 Ач. Начало процесса заряжания проходит на номинальном значении тока 6,5 А.
Постепенно, обрабатывая полученные данные с клемм о состоянии аккумулятора, прибор сам выбирает оптимальный для данных условий режим, либо увеличивая, либо уменьшая показания амперметра.
Ещё одним немаловажным фактором является наличие системы оповещения о возникшей неисправности, за счёт чего становится в разы легче контролировать процесс работы.
Применяется QUATTRO ELEMENTI i-Charge 10 не столько в домашних, сколько в сервисных условиях, где и раскрывается весь его потенциал, начиная от зарядки маломощных аккумуляторов, и заканчивая внушительными батареями.
Достоинства:
- наличие системы оповещения о неисправностях;
- оборудование панели управления сенсорным экраном;
- малая потребляемая мощность;
- удачная конструкция, эффективно охлаждающая электронные блоки от перегрева.
Недостатки:
- малая максимальная подача тока (10 А);
- не слишком низкая стоимость.
Пробивные зарядные устройства для реанимации «наглухо» севших аккумуляторных батарей. Отличаются мгновенной и стабильной передачей тока определённой силы на клеммы, который воспринимается аккумулятором в малых объёмах. Постепенно батарея «оживает» и начинает принимать ток полными порциями.
Главный недостаток таких зарядных устройств заключается в необходимости постоянного контроля – от избытка энергии электролит в аккумуляторе начинает закипать, что нередко приводит ко взрыву самой батареи и влечёт за собой ущерб имуществу и здоровью. Стоят они на порядок дешевле автоматических аналогов, однако в целях безопасности (если времени на отслеживание процесса заряда нет) лучше прибегнуть к покупке автоматического устройства.
3 KOLNER KBCН 4
По сути, китайский бренд под гордым немецким названием, выпускающий годноту в виде простеньких блоков зарядки для автомобильных аккумуляторов. Собственно, ничего нового этот экземпляр не демонстрирует – он отвечает стандартным требованиям к подзарядке 12-вольтных батарей, и делает это вполне добросовестно.
В отличие от многих куда более серьёзных моделей в KOLNER KBCН 4 вшит дополнительный блок защиты от замыкания, поэтому случайный переброс клемм будет нестрашен. Индикация заряда производится посредством различимых светодиодов, причём как в ночное, так и в дневное время суток.
Единственное серьёзное неудобство прибора заключается в необходимости периодического контроля – от чрезмерного насыщения током электролит может попросту закипеть.
Достоинства:
- наличие системы защиты от короткого замыкания клемм;
- приемлемая долговечность;
- удобная форма, включающая в себя ручку для переноски.
Недостатки:
- процесс зарядки требует периодического контроля.
Мощнейшее пуско-зарядное трансформаторное устройство с ручным типом управления, потенциала которого может хватить на «вдох жизни» в пустой ёмкий аккумулятор.
Максимальный ток заряда доходит до внушительной цифры в 13 А, а пусковой ток и того более – единовременный выброс 140 А (в течение 10-15 секунд, на простую прикидку, способен во мгновение «закипятить» электролит даже в батарее ёмкостью 140 Ач (и 12-ти, и 24-х вольтовых).
Прибегать к домашнему использованию такого устройства предпочитает лишь малое количество потребителей – куда большее распространение оно получило в кругах автомастерских, сервисов и транспортных цехов частных и государственных предприятий.
Единственный недочёт системы заключается в отсутствии защиты от возникновения короткого замыкания – при закреплении клемм стоит быть особо внимательным.
Достоинства:
- высокая номинальная мощность режима пуска и обычной зарядки;
- элементарное управление;
- привлекательная стоимость.
Недостатки:
- вероятность короткого замыкания клемм и выхода прибора из строя.
Современная система с импульсным преобразователем напряжения, облачённая в корпус эха 90-х годов. Модель настолько практичная, что первым достоинством можно назвать простое и понятное ручное управление. Остальные манипуляции попросту излишни: Сонар УЗП-210 делает всё сам, в автоматическом режиме.
Это наглядный пример сочетания двух концептуально различных способов управления, который даёт прекрасные результаты. Режимов зарядки два – с максимальными 12 А или 6 А для разных типов аккумуляторов.
Зарядка протекает по классическому сценарию автоматического метода: быстрая подзарядка, выравнивание подачи тока до стандартного значения, по мере насыщения аккумулятора переход в буферный режим и стабилизация напряжения на уровне насыщения.
Достоинства:
- внушительный кратковременный пусковой ток (200 А в течение одной-двух секунд);
- компактность;
- автоматическая зарядка с настраиваемыми вручную параметрами.
Недостатки:
Как выбрать хорошее зарядное устройство
Для выбора идеального зарядного устройства с точки зрения рабочих параметров и долговечности, следует обратить внимание на ряд важных критериев:
- пусковые, чья задача – это единовременная реанимация аккумулятора для получения сиюминутного результата;
- зарядные, предназначенные для длительной, но полной подпитки батареи;
- пуско-зарядные – комбинация первых двух типов устройств, служащая как универсальный аппарат.
Выбор напрямую зависит от Ваших личных предпочтений.
Также рекомендуем обратить внимание на полноту комплектации, длину штатных проводов с питающими клеммами и, собственно, на общую стоимость изделия.
Внимание! Представленная выше информация не является руководством к покупке. За любой консультацией следует обращаться к специалистам!
Выбираем лучшее зарядное устройство для автоаккумулятора

Главная » Аккумуляторная батарея » Выбираем лучшее зарядное устройство для автоаккумулятора
Чтобы знать, как выбрать зарядное устройство для автомобильного аккумулятора, которое могло бы хорошо заряжать девайс, в первую очередь нужно разобраться в видах АКБ.
Разновидностей батарей сегодня достаточно много, но в машинах используются такие типы:
Какими качествами должно обладать ЗУ
Какое ЗУ лучше выбрать для автомобильных аккумуляторов? В принципе, все зарядные устройства для аккумуляторных батарей работают по одному и тому же принципу.
ЗУ используется для снижения уровня напряжения в бытовой сети до номинала АКБ. То есть если автоэлектрика работает от бортовой сети на 12 вольт, то ЗУ преобразует 220 в 12.
Если же автоэлектрика работает от 24-вольтовой сети, то для аккумуляторных батарей нужно покупать и соответствующее ЗУ.
Принцип работы свинцовой батареи
Методы ЗУ, обеспечивающие заряд
Система автоэлектрики представляет собой довольно сложную цепь, состоящую из множества электроцепей и устройств. В зависимости от оборудования автоэлектрики, его поломка может спровоцировать невозможность эксплуатации машины. Например, основными элементами системы автоэлектрики являются генераторный узел и АКБ, и если один из них сломается, двигатель просто не запустится.
Чтобы выбор мощного зарядного устройства был правильным, следует точно знать, какие методы использует ЗУ для заряда батареи:
Прибор для подзарядки Puls
Типы зарядных устройств
Покупая зарядное устройство для АКБ, нужно определиться с типом прибора:
На что обратить внимание при выборе ЗУ?
Процесс выбора ЗУ может занять некоторое время, особенно, если вы мало что понимаете в этой теме.
Проведя множество тестов и обзоров портативных зарядных устройств, мы сформировали список критериев, которые позволят сделать правильный выбор:
Если ЗУ поддерживает функцию корректировки уровня заряда в соответствии с температурным перепадом, то это еще лучше. Но помните о том, что стоимость более функциональных приборов в любом случае будет более высокой.
Купив ЗУ, не забудьте взять чек с гарантийной выпиской (автор видео — канал SABOTAGnick116).
ТОП зарядных механизмов
Ниже представлен рейтинг зарядных устройств, который мы составили, опираясь на отзывы потребителей:
Фотогалерея
1. Портативный прибор от производителя Сорокин2. ЗУ KeepOwer Battery Charger3. ЗУ от производителя СОНАР
Видео «Можно ли сделать зарядное устройство своими руками?»
Если вы решили соорудить ЗУ для автомобильного аккумулятора своими руками, то ниже представлена подробная инструкция к этому процессу, в основе лежит источник бесперебойного питания (автор ролика — Артем Квантов).
Загрузка …У Вас остались вопросы? Специалисты и читатели сайта AVTOKLEMA помогут вам, задать вопрос
Лучшие зарядные устройства для автомобильных аккумуляторов в 2018 году

Практически каждый автомобилист сталкивался с такой проблемой, как разряд автомобильного аккумулятора. Это явление приводит к невозможности запустить мотор. К сожалению, большинство водителей вспоминают про состояние батареи слишком поздно, когда она уже полностью разряжена.
Для того чтобы исправить ситуацию, необходимо использовать специальное зарядное устройство, которое может восстановить работоспособность аккумулятора. Наличие такого аппарата особенно актуально зимой, когда характеристики батареи значительно ухудшаются.
Как правильно выбрать зарядное устройство для автомобильного аккумулятора?
Основные закономерности подбора зарядного устройства в зависимости от аккумулятора
Автомобили могут оснащаться двумя типами аккумуляторных батарей, причём каждый вид требует определенного подхода при зарядке.
Все зарядные устройства работают по одному принципу: приборы понижают напряжение сети, составляющее 220 вольт, до уровня аккумулятора 12 вольт.
Виды зарядных устройств для зарядки аккумуляторов
По функциональности следует выделить два основных типа приборов для зарядки аккумуляторной батареи.
- восстановление ёмкости аккумуляторной батареи аналогично зарядным устройствам;
- запуск двигателя при полностью разряженного аккумулятора.
При подключении зарядного устройства для зарядки аккумулятора необходимо отключить источник тока от бортовой сети.
В настоящее время выпускаются разные модификации приборов для зарядки автомобильных аккумуляторов. Выбор определённой модели напрямую зависит от квалификации автомобилиста.
Для новичков лучше подойдет автоматическое зарядное устройство. Принцип действия такого прибора заключается в автоматическом управлении циклом зарядки. Как только ёмкость батареи восстановится до 100%, прибор самостоятельно отключится. В дальнейшем автоматика будет включать устройство для поддержания полной зарядки аккумултора.Пятиэтапное ЗУ самостоятельно выполняет следующие действия:
Зарядные устройства, в основе которых лежат 5 базовых этапов зарядки автомобильного аккумулятора, работает следующим образом:
- выполняет зарядку до отметки 80%;
- производит 100% заряд понижающим током;
- осуществляет профилактическое поддержание уровня зарядки в пределах 95-100%;
- устраняет такой дефект аккумулятора, как сульфатация пластин благодаря импульсному режиму;
- делает диагностику батареи.
Прибор, работающий по принципу восьми этапов, функционирует следующим образом:
- удаляет последствия процесса сульфатации методом заряд-разряд;
- проверяет работоспособность аккумуляторной батареи;
- заряжает батарею до 80% ёмкости;
- последующая зарядка уменьшающим током до 100%;
- проверяет способность аккумулятора удерживать заряд;
- устраняет расслоение электролита при максимальном заряде батареи;
- поддерживает ёмкость аккумуляторной батареи на верхнем пределе ёмкости;
- выполняет профилактическую зарядку на отметке 95-100%.
Многофункциональные стационарные преобразователи позволяют обслуживать все виды аккумуляторных батарей (кислотные, тяговые, щелочные), а также могут использоваться в качестве источников бесперебойного питания в домашней сети под напряжением 220 вольт.
Что нужно знать при покупке зарядного устройства?
Автолюбитель, желающий приобрести зарядное устройство, должен для себя ответить на несколько вопросов. Они сузят круг электрических приборов и упростят процедуру выбора.
Важность технических параметров при выборе зарядного устройства
При выборе зарядного устройства для аккумулятора автомобиля следует обратить внимание на следующие технические параметры прибора.
- Сила тока зарядного устройства должна быть достаточно для полного восстановления емкости аккумуляторной батареи. Максимальная сила тока устанавливается на уровне 10% от полной емкости аккумулятора. Так, для зарядки батареи емкостью 55 ампер в час на приборе устанавливается сила тока 5,5 ампер.
- Для опытных автомобилистов подойдет зарядное устройство с возможностью регулировки напряжения и силы тока. Переключатели может быть с плавным изменением настройки или дискретным. Регулятор, плавно изменяющий параметры тока, позволяет точно установить требуемые параметры. Благодаря этой опции удастся наиболее эффективно восстановить аккумулятор, увеличивая или уменьшая силу тока.
- Выходное напряжение зарядного устройства должно соответствовать параметрам аккумулятора и бортовой сети автомобиля. Большинство легковых автомобилей и микроавтобусов имеют напряжение в сети, составляющее 12 вольт. Для грузовых машин требуется зарядное устройство с выходным показателем 24 вольт.
- Некоторые приборы обладают несколькими стадиями зарядки. Благодаря комбинированным устройствам удается полностью восстановить емкость батареи. В простом трехстадийном режиме происходит:
- зарядка постоянным током;
- зарядка постоянным напряжением;
- поддержание аккумулятора в заряженном состоянии.
- Зарядный стенд должен работать в широком диапазоне температур. Это особенно важно, если заряжать аккумуляторную батарею приходится в неотапливаемом гараже зимой.
- Автоматическое управление устройством упростит задачу для начинающих автолюбителей. Достаточно подсоединить плюсовой провод зарядного устройства к аналогичному выводу на аккумуляторной батареи, а минусовой провод соединить с клеммой «-«, и зарядное устройство можно включать. Автоматика самостоятельно выберет режим восстановления аккумулятора и вовремя отключится после полного заряда.
Видео-советы по выбору зарядного устройства:
Какие производители зарядных устройств для автомобильных аккумуляторов отлично зарекомендовали себя на рынке?
Автомобилистам сегодня предлагается множество моделей зарядных устройств. Как выбрать зарядное устройство для аккумулятора из всей массы различных приборов?
Современный автомобильный рынок предлагает автолюбителям как отечественные разработки, так и продукцию мировых лидеров. Среди наиболее популярных производителей у российских автомобилистов считаются следующие компании.
- Компания «Aiken» выпускает широкую гамму электрических приборов, в том числе и устройств для зарядки автомобильных аккумуляторов. Стоимость зарядного устройства от «Aiken» MCB12M колеблется в пределах 1900-2000 рублей. Модель MCB18M оценивается в 2500-2600 рублей.
- Известный итальянский производитель сварочных аппаратов и зарядных устройств «Telwin» предлагает продукцию самого высокого качества. Самые простые агрегаты (Alpine 18 Boost и Speed Start 1212) можно приобрести за 2500-2700 рублей. Для профессионального использования рекомендуются модели Computer 48/2 ProF и DYNAMIC 620 Start за 11-13,5 тысяч рублей.
- Российская компания «Калибр» производит несколько устройств для обслуживания аккумуляторов. Для автолюбителей предлагается прибор ЗУ-100, который доступен по стоимости 1700-1800 рублей и эффективен при использовании. Модификация ПЗУ-2,0/12,0С будет интересна для работников автосервиса. Стоимость данного зарядного устройства составляет 6,5-6,6 тысяч рублей.
- Зарядные устройства для аккумуляторов из Латвии под маркой «Ресанта» комплектуются аккумулятором, благодаря чему можно запускать двигатель автомобиля вдали от источника электроэнергии. Стоимость модели ПУ-1 составляет 2300 рублей. Прибор ПУ-2 с большим значением поступающего тока (400 ампер), оснащенный фонариком, USB разъемом и компрессором продаётся по цене 3600-3800 рублей.
- Недорогие зарядные агрегаты предлагает фирма «Сорокин». Модель «Сорокин 12.92» имеет небольшую силу тока (2 ампер), которой будет достаточно для зарядки аккумулятора емкостью 40 ампер в час. Купить такой прибор можно всего за 970-1000 руб.
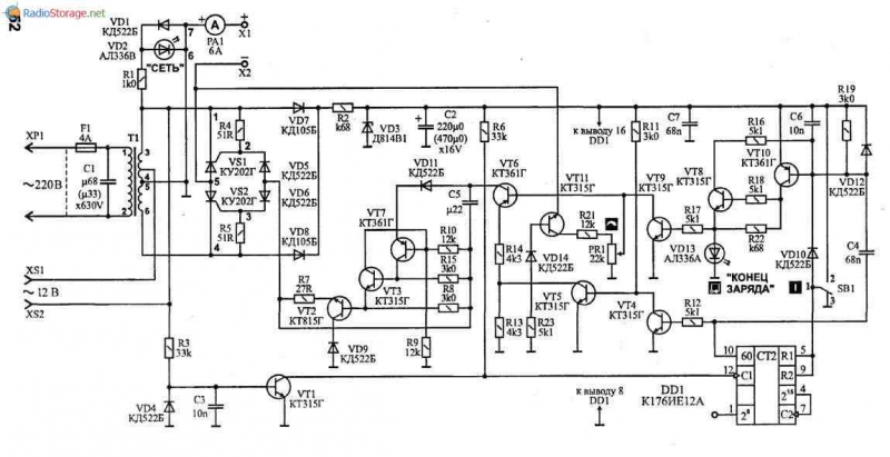
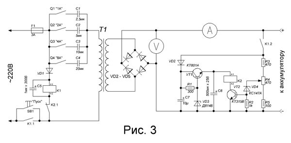
Как сделать зарядной устройство для автомобильного аккумулятора своими руками?
Простой прибор для зарядки автомобильного аккумулятора можно сделать своими руками. Такой вариант подойдет для тех автолюбителей, которые умеют пользоваться паяльником и разбираются в электрических схемах. Для создания переносного компактного устройства понадобятся следующие комплектующие:
- понижающий трансформатор мощностью 15-20 ватт;
- диодный мост, состоящий из 4 элементов (1 ампер, 30 вольт);
- конденсаторы;
- резисторы;
- предохранители;
- вольтметр (0-25 вольт);
- амперметр (0-10 ампер);
- переключатели;
- корпус из пластика или металла;
- светодиоды для подсветки и сигнализации.
Их необходимо соединить согласно расположенной выше схеме, и тогда получится компактное зарядное устройство для автомобильного аккумулятора.
Видео-опыт и рекомендации при изготовлении устройства самостоятельно:
Любое зарядное устройство требует от владельца минимального ухода, а также соблюдения основных правил эксплуатации. При правильном подходе будут долго работать и отечественные, и китайские приборы.
Как и любой инструмент, зарядное устройство должно иметь своё место в инвентаре в гараже или доме, куда не проникает пыль, грязь и влага.
Основные рекомендации по применению зарядного устройства выглядят следующим образом:
- перед включением прибора следует осмотреть вентиляционные отверстия, предотвращающие перегрев зарядного устройства;
- параметры тока в сети гаража должны соответствовать техническим характеристикам зарядного устройства.
- прежде чем подключить зарядное устройство к аккумулятору, необходимо очистить выводы батареи и клеммы прибора;
- при подключении зарядного устройства к батарее важно соблюдать полярность: плюсовой провод прибора соединяется с выводом «+» аккумулятора, а минусовая клемма крепится к выводу «-«;
- в процессе зарядки аккумуляторной батареи запрещается отсоединять клеммы зарядного устройства от выводов батареи;
- при включенном зарядном устройстве нельзя запускать мотор автомобиля;
- после полного восстановления ёмкости аккумулятора сначала выключается зарядное устройство, а затем отсоединяются провода.
Пятёрка лучших моделей зарядных устройств для аккумулятора автомобиля
Отечественное зарядное устройство без лишних наворотов. Полностью автоматическая работа. Имеется система стабилизации, протекает ток заряда до 5 ампер.
Достоинства:
- небольшой вес;
- скромные размеры.
Недостатки:
- отсутствие режима зарядки Boost;
- отсутствие индикаторов.
Средняя цена: 2000 рублей.
Aurora SPRINT-10D позиционируется производителем как аппарат, способный реанимировать глубоко разряженные батареи с напряжением от 1,5 вольт. Водителю нужно лишь установить напряжение своего аккумулятора и подключить клеммы к выводам аккумуляторной батареи.
Зарядное устройство имеет микропроцессор, который управляет зарядкой, контролирует основные параметры и обеспечивает защиту от превышения по току. Напряжение на выходе может быть установлено в районе 12 или 24 вольт. Ток зарядки принимает значение от 2 до 6 ампер. Масса устройства около 1,5 килограмма.
Достоинства:
- многофункциональное устройство;
- возможность регулировки настроек зарядки;
- наличие микропроцессора.
Недостатки:
- вовсе не маленькие габариты.
Средняя цена: 5000 рублей.
Это импульсное зарядное устройство. Работает полностью в автоматическом режиме. Подойдёт для тех автомобилистов, которые не хотят возиться с настройками. Автоэлектрика Т-1021 имеет функцию стабилизацию напряжения и тока. Величина тока зарядки принимает значение до 7,5 ампер.
Достоинства:
- автоматический режим;
- функция стабилизации;
- не надо ничего настраивать.
Недостатки:
- отсутствие режима Boost;
- вовсе не компактные размеры.
Средняя цена: 5000 рублей.
Это зарядное устройство для автомобильного аккумулятора рекомендуется для аккумуляторов большой ёмкости. Оно будет заряжать их быстро благодаря зарядному току до 8 ампер. Такая возможность есть далеко не у всех дорогих устройств.
При подключении Inelco Kee Power Medium проводит тестирование аккумулятора и начинает зарядку.
Портативное зарядное устройство для автомобиля Inelco Kee Power Medium можно подключить через автомобильный прикуриватель и заряжать аккумуляторную батарею, не снимая её с машины.
Достоинства:
- наличие режима Boost;
- подходит для зарядки аккумуляторов большой ёмкости;
- многофункциональные режимы;
- достойная цена для своего качества;
- долговечность.
Недостатки:
Средняя цена: 3000 рублей.
Это импульсное зарядное устройство для автомобильных аккумуляторов с напряжением 12 вольт. Ток, поставляемый ы в аккумулятор для его зарядки, регулируется автоматически. Причём верхний предел составляет 5 ампер.
Достоинства:
- компактность;
- небольшой вес.
Недостатки:
- отсутствие режима Boost;
- небольшое значение силы тока;
- отсутствие возможности регулировки силы тока.
Средняя цена: 1500 рублей.
Что же всё-таки выбрать?
Моделей зарядных устройств на рынке огромное количество, как импортных, так и отечественных. Как выбрать зарядное устройство для автомобильного аккумулятора так, чтобы было удобно с ним обращаться и оно прослужило долго? Этот вопрос волнует многих автолюбителей. По этому поводу можно сказать следующее.
Если зарядное устройство требуется время от времени, следует взять простое устройство без лишнего функционала. Например, оно понадобится, чтобы зарядить аккумуляторную батарею после простоя автомобиля в отпуске или перед холодами. В этом случае необходимо брать автоматическое устройство без всяких настроек и переключателей.
Если зарядное устройство необходимо для выполнения нескольких задач, следует взять многофункциональный прибор. Здесь выбор опций ограничивается только финансовыми возможностями автолюбителя. Тем, кто имеет аккумуляторы AGM и GEL, следует выбирать специальные зарядные устройства для этого типа аккумуляторных батарей.
Лучшие зарядные устройства для автомобильных аккумуляторов 2018 года

Зарядные устройства для аккумуляторов машин условно делят на две группы – решения для постепенной зарядки и пуско-зарядные изделия. Первый вариант отличается тем, что токоотдача не превышает отметку в 8 А. При этом стартер может потреблять ток выше 100 А.
Второй вариант предусматривает отдачу мощного импульса за счет кратковременного действия. Это помогает прокрутить силовую установки. Как правило, пуско-зарядные изделия применяют, когда нужно быстро завести транспортное средство.
Предлагаем рассмотреть рейтинг лучших зарядных устройств для аккумуляторов автомобилей 2018 года с учетом соотношения цена/качество.
Открывает рейтинг автоматических зарядок для аккумуляторов модель КЕДР-АВТО-10, работающая в нескольких режимах: автономный (с током до 5А), предпусковой (10 А), циклический (до 5 А с чередованием пауз).
Разработчики рекомендуют подключать к аккумулятору источник внешней нагрузки. Дело в том, что встроенная нагрузка отсутствует. Для выполнения поставленной задачи сгодится лампа.
К явным преимуществам следует отнести простую эксплуатацию, режим десульфатации и демократичную стоимость.
- низкая стоимость;
- быстро подзаряжает;
- режим десульфатации;
- простота в эксплуатации.
- максимальный ток не регулируется.
Еще одно недорогое зарядное устройство для аккумулятора авто, привлекающее удобством в эксплуатации. Нет ни единого регулятора или переключателя.
Исходя из отзывов покупателей, разработчики оснастили продукт лишь двумя индикаторами, каждый из которых расположен на передней панели. Стоит отметить, что данный продукт рассчитан на достаточно узкий сегмент свинцово-кислотных батарей, емкостью 45-70 А*ч.
Привлекает элементарной работой – очень простая схема автоматики. Можно не отключать при попытках завести машину, не сгорит!
- стоимость;
- элементарное управление.
Еще одна отечественная модель, привлекающая простым управлением и низкой стоимостью. Отличается от предшественника АКБ 12 В. Учитывая мнение независимых покупателей, можно отметить, что данное устройство обладает небольшими габаритами.
Легко транспортировать. Привлекает эффективной работой, без сбоев. Хорошо продумана дополнительная защита от сгорания. Можете смело заводить транспортное средство, не беспокоясь за негативные последствия.
Явных недостатков нет – потому что цена полностью соответствует качеству.
- соотношение цена-качество;
- стабильная работа;
- оптимальный АКБ.
Если планируете купить зарядное устройство для аккумулятора автомобиля с ручным управлением, обратите внимание на модель Орион PW-265. С ее помощью можно задать зарядный ток для батарей большой емкости.
Так же подходит для мотоциклетных решений. При этом максимальный ток изделия составляет 6А. Это более, чем достаточно для легковых машин. Предусмотрена качественная защита от перегрева. Не нужно беспокоиться за короткое замыкание.
Корпус изготовлен из высококачественных материалов.
- можно регулировать источник напряжения;
- прочный корпус;
- максимальный ток 6А.
Хорошее пуско-зарядное устройство разработанное в Тамбове. Речь идет о самом мощном изделии, в данном рейтинге, максимальный ток которого составляет 13 А. Длительный пусковой ток в диапазоне до 170 А.
Прибор подходит для обширного ярда автомобильных батарей, емкость вплоть до 140 А*ч. Причем, как для 12-вольтовых, так и 24-вольтовых решений. В рамках пуска стартер не должен работать более 15 секунд.
Впрочем, этого хватит для включения работающей силовой установки.
- высокая производительность;
- соотношение цен/качество.
- можно повредить при замыкании клемм случайно.
Лучшая зарядка для аккумулятора автомобиля на 2018 год которая относится к числу современных импульсных преобразователей. Пуско-зарядный инструмент реализован в виде классического трансформатора.
Привлекает простотой в эксплуатации и неплохим максимальным током – 12 А. Стоит добавить, что устройство оснащается буферным режимом и стабилизацией напряжения на уровне 14 В. Мощности сульфатированного аккумулятора вполне хватает на 2 попытки пуска.
При продолжительной эксплуатации прокрутка питания не превышает 105 А.
- небольшие габариты;
- можно использовать, как пусковое устройство в автономном режиме.
- долговечная модель.
Не знаете, как выбрать зарядное устройство для аккумулятора, чтобы не пожалеть о своем решении? В таком случае учтите собственные потребности и отталкивайтесь от двух форматов:
Пуско-зарядные изделия – предназначены для быстрого запуска агрегатов. Оптимальное решение, если Вы опаздываете на работу или боитесь непредвиденных казусов;
Классические зарядки – отличаются более демократичной ценой, но не слишком простой эксплуатации.
Вместе с тем, есть зарядные устройства с ручной регулировкой и автоматической. Если планируете управлять процессом самостоятельно, внимательно изучите инструкцию от производителей.
Не знаете, какое зарядное устройство лучше купить? Советуем ознакомиться с отзывами от независимых потребителей, которые уже успели оценить достоинства и недостатки актуальных решений 2018 года:
Обратите внимание, что данный Топ не предусматривает призыва к действию. Мы составили рейтинг исключительно для удобства пользователей – никакой рекламы!
Техно Рейтинг » Автотехника » Лучшие зарядные устройства для автомобильных аккумуляторов 2018 года




















































